ГОСТ 31014-2002
Группа Ж35
МЕЖГОСУДАРСТВЕННЫЙ СТАНДАРТ
ПРОФИЛИ ПОЛИАМИДНЫЕ СТЕКЛОНАПОЛНЕННЫЕ
Технические условия
GLASS FILLED POLIAMIDES PROFILS
Specifications
ОКС 83.140.01
ОКП 224700
Дата введения 2003-05-01
Предисловие
1 РАЗРАБОТАН ФГУП ЦНС при участии ООО "Тимберал" и Управления технического нормирования, стандартизации и сертификации в строительстве и ЖКХ Госстроя России
ВНЕСЕН Госстроем России
2 ПРИНЯТ Межгосударственной научно-технической комиссией по стандартизации, техническому нормированию и сертификации в строительстве (МНТКС) 17 октября 2002 г.
За принятие проголосовали
|
|
|
|
Наименование государства
|
Наименование органа государственного управления строительством
|
|
Азербайджанская Республика
|
Госстрой Азербайджанской Республики |
|
Республика Армения
|
Министерство градостроительства Республики Армения
|
|
Кыргызская Республика
|
Государственная Комиссия по архитектуре и строительству при Правительстве Кыргызской Республики
|
|
Республика Молдова
|
Министерство экологии, строительства и развития территорий Республики Молдова
|
|
Российская Федерация |
Госстрой России
|
|
Республика Таджикистан
|
Комархстрой Республики Таджикистан
|
|
Республика Узбекистан
|
Госкомархитектстрой Республики Узбекистан
|
3 ВВЕДЕН ВПЕРВЫЕ
4 ВВЕДЕН В ДЕЙСТВИЕ с 1 мая 2003 г. в качестве государственного стандарта Российской Федерации постановлением Госстроя России от 27 февраля 2003 г. N 19
5 В настоящем стандарте учтены основные нормативные положения следующих международных стандартов: ИСО 527-2:1993 [1], ИСО 197-2:1997 [2], ИСО 75-2:1993 [3], ИСО 868:1985 [4], ИСО 1183:1987 [5], ИСО 3146:1985 [6]
ВНЕСЕНА поправка, опубликованная в БСТ N 8, 2004 год
Поправка внесена юридическим бюро "Кодекс"
Введение
Настоящий стандарт разработан для изготовителей комбинированных профилей из алюминиевых сплавов, предназначенных для светопрозрачных конструкций, с целью осуществления компетентного выбора конструкционного термоэлемента из пластмассы.
В настоящее время в Европе действует разработанная CEN/TC 33 норма EN 14024 "Металлические профили с термовставками. Механические характеристики. Требования, испытания и методики оценки", которая регламентирует требования к оценке механических параметров профилей из алюминиевых сплавов с термоэлементами в зависимости от назначения (для окон, дверей и для фасадных систем) и оценке пригодности используемых для термовставок материалов.
Настоящий стандарт разработан с учетом международных стандартов ИСО.
1 Область применения
Настоящий стандарт распространяется на профили полиамидные стеклонаполненные, изготовленные способом экструзии и применяемые в качестве конструкционного соединительного и термоизолирующего элемента при изготовлении оконных и дверных блоков, витрин и витражей из прессованных алюминиевых профилей.
Настоящий стандарт не распространяется на профили поливинилхлоридные, полиуретановые со стеклонаполнением и без него.
Требования, изложенные в пунктах 4.3, 4.5, 5.2-5.5, разделах 6 и 7 настоящего стандарта, являются обязательными.
2 Нормативные ссылки
Перечень межгосударственных стандартов, ссылки на которые использованы в настоящем стандарте, приведен в приложении А.
3 Определения
В настоящем стандарте применяют следующие термины с соответствующими определениями.
Профиль полиамидный стеклонаполненный - изделие с заданными размерами и формой поперечного сечения, изготовленное способом экструзии из полиамида ПА 66, наполненного стекловолокном с массовой долей стекловолокна (25,0±2,5)%.
Ширина профиля - размер поперечного сечения профиля, предназначенный для вставки термоизолирующего элемента в комбинированный профиль или алюминиевый профиль для витражей, изготовленный по ГОСТ 22233.
Полка профиля - утолщенная с двух сторон по ширине часть профиля, предназначенная для вставки в приемные и (или) направляющие пазы алюминиевых профилей, составляющих комбинированный профиль или профиль для витражей.
Толщина профиля - наименьший размер поперечного сечения профиля в направлении, перпендикулярном ширине профиля.
Сплошной профиль - профиль, в поперечном сечении которого отсутствует внутреннее полое пространство (рисунок 1).
Полый профиль - профиль, сечение которого включает одно или несколько полых пространств, разделенных, как правило, перегородками (рисунок 2).
Составной профиль - изделие, состоящее из комбинации двух или более профилей.
Артикул профиля - буквенное или цифровое обозначение конкретной конструкции профиля, устанавливаемое в технической документации изготовителя.
Маркировка профиля - алфавитно-цифровое обозначение по 4.5, нанесенное на изделие в соответствии с требованиями 5.5, идентифицирующее изготовителя профиля.
4 Классификация и условное обозначение
4.1 По форме поперечного сечения полиамидные стеклонаполненные профили изготавливают сплошными (рисунок 1) и полыми (рисунок 2).

Рисунок 1

Рисунок 2
4.2 В зависимости от условий соединения с алюминиевым профилем полку профиля изготавливают с пазом (рисунок 1, а, в, г и рисунок 2, б ) и без него (рисунок 1, б и рисунок 2, а ).
По способу заполнения паза профили подразделяют:
с клеевым шнуром;
с металлической вставкой.
4.3 По стойкости к климатическим воздействиям профили подразделяют на типы:
Н (нормального исполнения) - для районов со средней месячной температурой воздуха в январе минус 20 °С и выше (испытания при температуре минус 20 °С);
М (морозостойкого исполнения) - для районов со средней месячной температурой воздуха в январе ниже минус 20 °С (испытания при температуре минус 40 °С).
4.4 По цвету и внешнему виду профили должны соответствовать образцам-эталонам, утвержденным в установленном порядке руководителем предприятия-изготовителя. Как правило, цвет профилей черный.
4.5 Условное обозначение профилей должно включать:
артикул профиля по технической документации;
наименование предприятия-изготовителя (или его торговую марку);
обозначение материала изделия - ПА 66;
тип исполнения по 4.3;
обозначение настоящего стандарта.
Пример условного обозначения профиля полиамидного, изготовленного ЗАО "Агригазполимер", тип исполнения - нормальный:
933100Т ЗАО "Агригазполимер" ПА 66 Н ГОСТ 31014-2002.
5 Технические требования
5.1 Профили должны соответствовать требованиям настоящего стандарта и изготавливаться по технологической документации, утвержденной в установленном порядке предприятием-изготовителем, и по рабочим чертежам, согласованным между изготовителем и потребителем.
В рабочих чертежах следует указывать максимально допустимые размеры поперечного сечения профиля, радиусы кромок, радиусы скругления полок, высоту фасок, а также допуски на угловые меры, форму и положение, которые должны быть согласованы с минимальными размерами алюминиевых профилей.
5.2 Геометрические размеры
5.2.1 Геометрические размеры профиля должны соответствовать размерам, указанным в рабочих чертежах. Примеры поперечных сечений профилей приведены в приложении Б.
5.2.2 Рекомендуемые предельные отклонения номинальных размеров ширины сечения профиля не должны превышать 0,1 мм при ширине профиля до 25 мм и 0,2 мм - при ширине свыше 25 до 45 мм.
Рекомендуемые предельные отклонения номинальных размеров ширины сечения профиля приведены в таблице 1.
Таблица 1
|
|
|
|
|
|
В миллиметрах |
|||
|
Номинальные размеры ширины сечения профиля
|
Предельные отклонения
|
||
|
От 8 до 25 включ.
|
+0
|
|
+0,1
|
|
|
-0,1
|
±0,05
|
-0 |
|
Св. 25 до 45 включ.
|
+0
|
|
+0,2
|
|
|
-0,2
|
±0,1
|
-0 |
5.2.3 Рекомендуемые предельные отклонения ширины полки профиля не должны превышать ±0,05 мм.
Допускается по согласованию с заказчиком для профилей, используемых в технологии производства комбинированного профиля способом запенивания без зальцовки, устанавливать другие предельные отклонения ширины полки профиля, но не превышающие ±0,15 мм.
5.2.4 Рекомендуемые предельные отклонения номинального размера толщины сечения профиля не должны превышать ±0,05 мм.
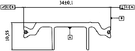
5.2.5 Отклонение от параллельности поверхностей профиля не должно быть более 0,1 мм (рисунки 3 и 4).

Рисунок 3

Рисунок 4
5.2.6 Острые кромки профилей должны быть, как правило, слегка закруглены. Рекомендуемая величина радиуса закругления острых кромок профилей, если она не указана на чертеже, должна быть не более 0,3 мм.
5.2.7 Профили изготавливают длиной от 3500 до 7000 мм. Допускается по согласованию с потребителем, установленному в договоре на поставку, изготовление профилей другой длины. Допускаемые отклонения длины профиля не должны превышать:
|
|
|
|
|
|
|
|
|
от 0 до +15 мм |
-
|
при длине до 6000 мм
|
включ.;
|
|
|
|
от 0 до +20 мм
|
-
|
" " св. 6000 до 7000 мм
|
".
|
|
5.2.8 Профили должны быть отрезаны под прямым углом.
5.3 Основные показатели и характеристики
5.3.1 Показатели физико-механических свойств профилей должны соответствовать указанным в таблице 2.
Таблица 2
|
|
|
|
|
Наименование показателя |
Значение показателя
|
|
|
Прочность при разрыве при температуре (23±2) °С, МПа, не менее
|
60
|
|
|
Модуль упругости при растяжении, МПа, не менее |
2900
|
|
|
Ударная
вязкость по Шарпи, кДж/м
|
|
|
|
|
(23±2) °С
|
30 |
|
|
минус (20±2) °С
|
20 |
|
|
минус (40±2) °С
|
20 |
|
Твердость по Шору, ед. Шор Д, не более |
86 |
|
|
Температура изгиба под нагрузкой при напряжении 1,80 МПа, °С, не менее
|
200 |
|
|
Температура плавления, °С, не менее
|
250 |
|
|
Массовая доля влаги при температуре (23±5) °С и относительной влажности воздуха (60±10)%, не более
|
2 |
|
5.3.2 Профили должны быть на срезе монолитными, однотонными, без посторонних включений и пустот в массе материала.
5.3.3 Цвет изделий должен быть однотонным, без цветовых пятен и включений.
5.3.4 Дефекты поверхности (усадочные раковины, вздутия, царапины, пузыри) на профиле не допускаются.
5.3.5 Профили должны быть стойкими к действию жидких химических реагентов, таких как ацетон, водный аммиак, этиловый спирт, хлористый натрий.
К действию азотной, соляной, серной и фтористоводородной кислот 40%-ной концентрации и более профили не являются стойкими.
5.3.6 Профили должны быть стойкими к действию силиконового, моторного, вазелинового, растительного и других масел.
5.3.7 Профили должны иметь санитарно-эпидемиологическое заключение органов Госсанэпиднадзора.
5.4 Требования к сырью
5.4.1 В качестве сырья для производства профилей применяют стеклонаполненные полиамиды ПА 66.
5.4.2 В стеклонаполненных полиамидах не допускается наличие стекловолокна в виде пучков и скоплений.
5.4.3 Показатели физико-механических свойств стеклонаполненных полиамидов должны соответствовать указанным в таблице 3.
Таблица 3
|
|
|
|
Наименование показателя
|
Значение показателя
|
|
Плотность,
г/см
|
1,30±0,05
|
|
Массовая доля стекловолокна, % |
25,0±2,5 |
|
Температура плавления, °С, не менее |
250 |
|
Ударная
вязкость по Шарпи при температуре
(23±2) °С, кДж/м |
30 |
|
Прочность при разрыве, МПа, не менее |
110 |
|
Модуль упругости при растяжении, МПа, не менее |
6500 |
|
Изгибающее напряжение при разрушении, МПа, не менее |
140
|
|
Твердость по Шору, ед. Шор Д, не более |
86
|
|
Примечание - По требованию потребителя изготовитель должен указывать следующие показатели: ударную вязкость по Шарпи при температурах минус (20±2) °С и минус (40±2) °С, коэффициент линейного теплового расширения, теплопроводность в сухом состоянии.
|
|
5.5 Маркировка
5.5.1 На поверхность каждого профиля должна быть нанесена разборчивая маркировка, состоящая из условного обозначения, ширины сечения профилей, даты изготовления, состоящей из порядкового номера недели, года и смены.
5.5.2 Каждое упаковочное место должно иметь маркировку, нанесенную несмываемой краской на ярлыки, этикетки, которые прикрепляют к упаковочному месту. Маркировка должна содержать:
- условное обозначение профиля по 4.5;
- дату изготовления;
- номер партии и (или) смены;
- номер заказа.
Допускается включать в маркировку дополнительные сведения согласно требованиям технической документации предприятия-изготовителя или условий поставки.
Ярлыки из бумаги, картона и этикетки должны быть прикреплены клеем или скотчем и защищены от влаги, из фанеры и металла - прибиты к ящикам гвоздями.
5.5.3 Каждое грузовое место должно иметь транспортную маркировку по ГОСТ 14192 с нанесением манипуляционного знака "Беречь от влаги".
5.6 Упаковка
5.6.1 Средства пакетирования должны обеспечивать защиту профилей от увлажнения и механических повреждений.
В качестве средств пакетирования применяют:
- контейнеры универсальные по ГОСТ 22225, ГОСТ 18477;
- мягкую тару из водостойкого картона или из полимерных материалов по технической документации изготовителя;
- тару, изготовленную по технической документации изготовителя и согласованную в установленном порядке.
Допускается применять другие виды тары, обеспечивающей защиту профилей от увлажнения и механических повреждений.
При небольших объемах поставки допускается пакетировать профили связанными в пачки с соблюдением требований по предохранению их при транспортировании от загрязнений, деформаций и механических повреждений. Пачки обвязывают шпагатом по ГОСТ 17308.
5.6.2 Для обвязки грузовых мест применяют стальную ленту по ГОСТ 3560 и ленту из полимерных материалов по действующей нормативной документации.
Средства скрепления грузов должны удовлетворять требованиям ГОСТ 21650.
6 Правила приемки
6.1 Профили должны быть приняты техническим контролем предприятия-изготовителя.
6.2 Профили принимают партиями. Партией считают количество профилей одного артикула, изготовленных на одной технологической линии в течение смены.
6.3 Для проверки соответствия профилей требованиям настоящего стандарта проводят входной, операционный и приемочный контроль. Порядок проведения операционного контроля уста