
ГОСУДАРСТВЕННЫЕ СТАНДАРТЫ СОЮЗА ССР
СОЕДИНИТЕЛЬНЫЕ
И КРЕПЕЖНЫЕ ДЕТАЛИ
СТЕКЛЯННЫХ ТРУБОПРОВОДОВ
КОЛЬЦО УПЛОТНИТЕЛЬНОЕ
КОНСТРУКЦИЯ
ГОСТ 24191-80
ГОСУДАРСТВЕННЫЙ КОМИТЕТ СССР ПО СТАНДАРТАМ
МОСКВА
ГОСУДАРСТВЕННЫЙ СТАНДАРТ СОЮЗА ССР
|
КОЛЬЦО УПЛОТНИТЕЛЬНОЕ Конструкция Packing hoop. Design |
ГОСТ |
Дата введения 01.07.81
Несоблюдение стандарта преследуется по закону
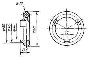
1. Настоящий стандарт распространяется на уплотнительные кольца, применяемые в соединениях стеклянных труб наружным диаметром 45 мм с трубными досками воздухоподогревателей (теплообменников).
Требования настоящего стандарта являются обязательными.
(Измененная редакция, Изм. № 2).
2. Конструкция и основные размеры уплотнительных колец должны соответствовать указанным на чертеже.

Масса - 0,03 кг, не более, для резины плотностью 2,12 г/см3.
Пример условного обозначения уплотнительного кольца для трубы наружным диаметром Dн = 45 мм:
Кольцо 45 ГОСТ 24191-80
3. Материал колец - резина по рабочим чертежам, утвержденным в установленном порядке.
4. Технические требования - по ГОСТ 24201-80.
5. Коды ОКП приведены в приложении.
(Введен дополнительно, Изм. № 2).
ПРИЛОЖЕНИЕ
Справочное
|
Условное обозначение кольца |
Код ОКП и контрольное число |
|
45 |
25 3167 0407 01 |
(Введено дополнительно, Изм. № 1).
ИНФОРМАЦИОННЫЕ ДАННЫЕ
1. РАЗРАБОТАН И ВНЕСЕН Министерством монтажных и специальных строительных работ СССР
ИСПОЛНИТЕЛИ
М.Г. Скакунов, д-р техн. наук; В.И. Каптелов; Н.Н. Куликов; Р.И. Шарунова
2. УТВЕРЖДЕН И ВВЕДЕН В ДЕЙСТВИЕ Постановлением Государственного комитета СССР по стандартам от 22.05.80 № 2306
3. ВЗАМЕН ГОСТ 19695-74
4. Срок проверки - 1 квартал 1990 г.; периодичность проверки - 5 лет.
5. ССЫЛОЧНЫЕ НОРМАТИВНО-ТЕХНИЧЕСКИЕ ДОКУМЕНТЫ
|
Обозначение НТД, на который дана ссылка |
Номер пункта |
|
ГОСТ 24201-80 |
6. ПЕРЕИЗДАНИЕ (май 1988 г.) с Изменением № 1, утвержденным в январе 1988 г. (ИУС 4-88).
Снято ограничение срока действия Постановлением Госстандарта СССР от 28.01.88 № 155.