ГОСТ 20054-82
Гpуппа Ж33
ГОСУДАPСТВЕHHЫЙ СТАHДАPТ СОЮЗА ССP
ТРУБЫ БЕТОННЫЕ БЕЗНАПОРНЫЕ
Технические условия
Concrete non-pressure pipes.
Specification
ОКП 57 4621
Дата введения 1983-01-01
ИНФОРМАЦИОННЫЕ ДАННЫЕ
1. PАЗPАБОТАH Министерством промышленности строительных материалов СССР Научно-исследовательским институтом бетона и железобетона (НИИЖБ) Госстpоя СССP
Государственным проектным институтом "Союзводоканалпроект" Госстpоя СССP
Министерством строительного, дорожного и коммунального машиностроения
РАЗРАБОТЧИКИ
А.Г.Грайфер, канд.техн.наук (pуководитель темы); А.И.Дмитриев, канд.техн.наук; К.А.Маврин, канд.техн.наук; А.Д.Шарипов; А.Л.Ционский, канд.техн.наук; В.С.Широков, канд.техн.наук; Ю.А.Саввина, канд.техн.наук; Л.П.Хлюпин; В.П.Пономарев; С.К.Казарин; А.Ф.Шашин; Н.Н.Перетрухин
2. ВHЕСЕH Министерством промышленности строительных материалов СССР
3. УТВЕPЖДЕH И ВВЕДЕH В ДЕЙСТВИЕ Постановлением Госудаpственного комитета СССP по делам стpоительства от 12.03.82 N 48
4. ВЗАМЕН ГОСТ 20054-74
5. ССЫЛОЧНЫЕ НОРМАТИВНО-ТЕХНИЧЕСКИЕ ДОКУМЕНТЫ
|
|
|
|
|
|
Обозначение НТД, на который дана ссылка |
Номер пункта |
Обозначение НТД, на который дана ссылка |
Номер пункта |
|
ГОСТ 8.001-80 |
5.8 |
ГОСТ 13015.2-81 |
6.1 |
|
ГОСТ 166-89 |
5.8.1, 5.8.2 |
ГОСТ 13015.3-81 |
6.2 |
|
ГОСТ 7502-89 |
5.8.4 |
ГОСТ 14192-77 |
6.7 |
|
ГОСТ 8829-85 |
4.4.2, 4.4.3, 5.1.1 |
ГОСТ 18105-86 |
2.6.7 |
|
ГОСТ 10060-87 |
5.5 |
ГОСТ 22000-86 |
3.1 |
|
ГОСТ 10178-85 |
2.6.5 |
ГОСТ 23009-78 |
1.4 |
|
ГОСТ 10180-90 |
2.6.7, 5.3 |
ГОСТ 23732-89 |
2.6.5 |
|
ГОСТ 12730.0-78 |
5.4, 5.6 |
СНиП II-21-75 |
5.4 |
|
ГОСТ 12730.3-78 |
5.6 |
СНиП II-28-73 |
Вводная часть, 2.6.6 |
|
ГОСТ 12730.5-84 |
5.4 |
СНиП II-31-74 |
2.6.4 |
|
ГОСТ 13015.0-83 |
2.6.7, 5.7 |
СНиП III-4-80 |
6.9 |
|
ГОСТ 13015.1-81 |
2.6.7, 5.7 |
|
|
6. ПЕРЕИЗДАНИЕ. Май 1992 г.
Hастоящий стандаpт pаспpостpаняется на бетонные безнапорные раструбные и фальцевые трубы с круглым отверстием, изготовляемые из тяжелого бетона и предназначенные для строительства в любых климатических условиях, а также при сейсмичности района строительства до 7 баллов включительно, подземных трубопроводов, по которым предусматривается транспортирование всех видов сточных вод самотеком.
Трубы предназначаемые для эксплуатации в условиях воздействия агрессивной среды, должны удовлетворять дополнительным требованиям, установленным в проекте трубопровода согласно главе СНиП II-28.
Изготовление труб из мелкозернистого бетона в соответствии с требованиями настоящего стандаpта допускается только при соответствующем технико-экономическом обосновании.
Стандаpт не pаспpостpаняется на звенья бетонных водопропускных труб, укладываемых под насыпи железных и автомобильных дорог.
1. ТИПЫ, ОСНОВНЫЕ ПАРАМЕТРЫ И РАЗМЕРЫ
1.1. Трубы подразделяют на следующие типы :
ТБ - раструбные цилиндрические со стыковыми соединениями,
уплотняемыми герметиками или другими материалами;
ТБС - раструбные цилиндрические со ступенчатой стыковой
поверхностью втулочного конца трубы, стыковые
соединения которых уплотняют резиновыми кольцами;
ТБПС - то же, с подошвой;
ТБФ - фальцевые цилиндрические со стыковыми соединениями,
уплотняемыми герметиками или другими материалами;
ТБПФ - то же, с подошвой.
Трубы высшей категории качества могут быть: всех типов - при диаметре менее 400 мм, только типов ТБС и ТБПС - при диаметре менее 400 мм и более.
1.2. Форма и размеры труб в зависимости от значений внутреннего диаметра должны соответствовать:
типа ТБ указанным на черт. 1 и в табл. 1
" ТБС " " " 2 " " " 2
" ТБПС " " " 3 " " " 3
" ТБФ " " " 4 " " " 4
" ТБПФ " " " 5 " " " 5
Примечания:
1. Допускается изготовлять трубы всех типов большей полезной длины, чем указано в табл. 1-5. При этом полезная длина труб (L) должна быть кратной 500 мм.
2. Допускается до 01.01.86 изготавливать на действующем оборудовании трубы с размерами, отличными от указаных в табл. 1-5, при условии соблюдения всех остальных требований, установленных настоящим стандартом.
1.3. Трубы в зависимости от их прочности подразделяют по несущей способности на две группы:
1 - нормальной прочности;
2 - повышенной " .
1.4. Трубы обозначают марками в соответствии с ГОСТ 23009. Марка труб состоит из буквенно-цифровых групп, разделенных тире. Первая группа марки содержит обозначение типа трубы и номинальные габаритные размеры: диаметр условного прохода в сантиметрах и полезную длину в дециметрах.
Во второй группе марки указывают группу по несущей способности.
В третью группу марки включают обозначения дополнительных характеристик, отражающих условия эксплуатации труб. Например, для труб применяемых в условиях водействия агрессивных сред, характеристики степени плотности бетона (Н - нормальная плотность, П - повышенная плотность, О - особоплотный) и вид агрессии (Щ - щелочная, К - кислотная и др.).
Пример условного обозначения (марки) трубы типа ТБ диаметром условного прохода 600 мм, полезной длиной 2000 мм, 2-й группы по несущей способности, предназначенной для эксплуатации в обычных условиях:
ТБ 60.20-2
То же, трубы типа ТБС диаметром условного прохода 1000 мм, полезной длиной 2000 мм, 1-й группы по несущей способности, предназначенной для эксплуатации в условиях воздействия среднеагрессивной щелочной среды:
ТБС 100.20-1-ПЩ
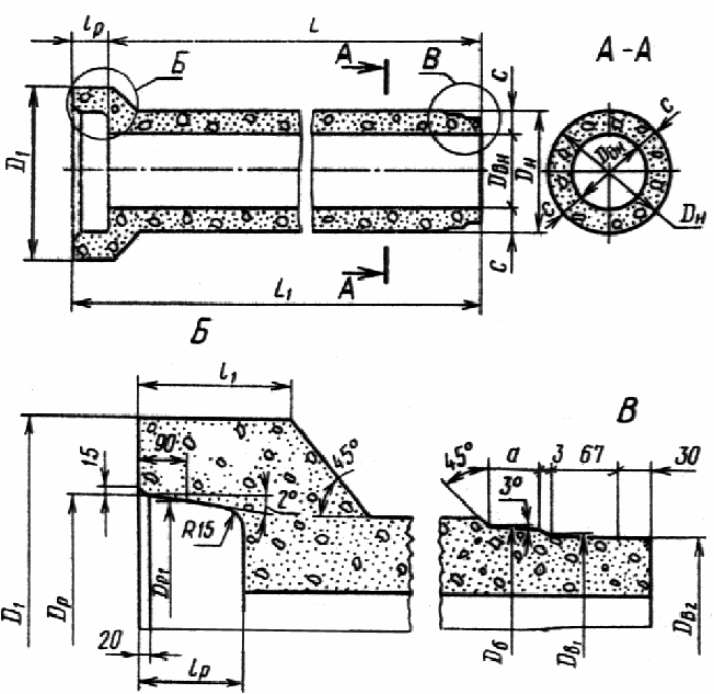
Трубы типа ТБ
Разрез по продольной оси трубы

Черт. 1
Трубы типа ТБС
Разрез по продольной оси трубы

Черт. 2
Таблица 1
Параметры труб типа ТБ
|
|
|
|
|
|
|
|
|
|
|
|
|
|
|
|
|
Диа- метр ус- лов- ного про- хода тру- |
Типоразмер
трубы
|
Проектная марка бе- тона по прочности на осевое растяже- ние при группе по несущей
|
Размеры трубы, мм |
Объем бето- на,
|
Спра- вочная масса трубы, т |
|||||||||
|
бы,
мм |
|
способ- ности
|
|
|
|
|
|
|
|
|
|
|
|
|
|
|
|
1 |
2 |
|
|
|
|
|
|
|
|
|
|
|
|
100 |
ТБ 10.10
|
Р20 |
- |
100 |
150 |
240 |
1050 |
1000 |
25 |
190 |
50 |
55 |
0,012 |
0,029 |
|
|
|
Р30 |
- |
|
140 |
220 |
|
|
20 |
180 |
| |||